近日,一项由清华大学与奇瑞汽车股份有限公司联合申请的“分体式飞行汽车”专利正式对外公布,该专利的申请日期为1月28日,引起了业界的广泛关注。
据了解,当前市场上的飞行汽车设计普遍面临着起降时间长、效率低下以及能耗过高等问题,这严重制约了飞行汽车的实用化进程。针对这些痛点,此次申请的专利提出了一种创新的分体式飞行汽车设计方案,旨在显著提升飞行汽车的起降效率。

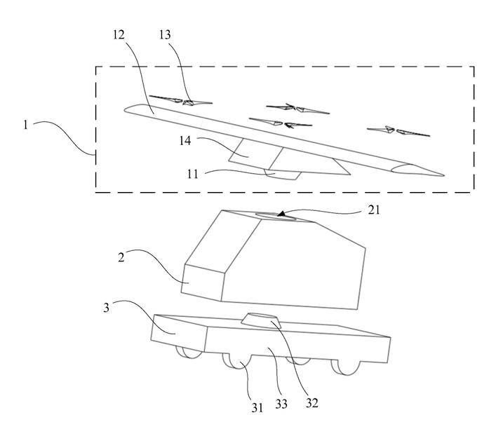
这款分体式飞行汽车由飞行器模块、座舱模块和底盘模块三大核心部分组成,具备地面模式、飞行模式、起飞模式和降落模式四种运行状态。在起飞阶段,飞行器模块与座舱模块紧密相连,而底盘模块则与座舱模块底部实现可拆卸连接。当飞行汽车从起飞模式顺利切换到飞行模式后,底盘模块会自动与座舱模块分离,从而减小飞行阻力,进一步降低飞行过程中的能耗。
值得注意的是,在飞行汽车从飞行模式切换回降落模式时,底盘模块能够迅速与座舱模块重新对接,确保飞行汽车能够平稳地滑行降落,大大提高了降落效率。这一创新设计不仅解决了传统飞行汽车在起降过程中的效率问题,还为未来的城市交通提供了新的凯发app平台的解决方案。

事实上,奇瑞汽车在飞行汽车领域早已有所布局。在去年10月举行的2024奇瑞全球创新大会上,奇瑞就曾宣布其三体复合翼飞行汽车成功完成首航。这款三体式复合翼飞行汽车同样采用了创新的对接机构设计,通过飞行模块与座舱的组合形成飞行形态,而行驶模块与座舱的组合则构成汽车形态。

更令人瞩目的是,这款三体式复合翼飞行汽车还实现了无人驾驶功能,无论是飞行模式还是行驶模式,均无需人工操控。这一创新设计不仅极大地提高了飞行汽车的安全性和便捷性,还为解决城市交通拥堵问题提供了新的思路。

随着技术的不断进步和创新,飞行汽车正逐步从科幻走向现实。此次清华大学与奇瑞汽车联合申请的“分体式飞行汽车”专利,无疑为飞行汽车的实用化进程注入了新的动力。未来,我们有望看到更多创新、高效的飞行汽车设计方案涌现,为城市交通带来革命性的变革。















